Église Saint-Pierre-ès-Liens de Mauvezin-sur-Gupie dans le Lot-et-Garonne

Patrimoine classé Patrimoine religieux Eglise gothique Clocher-mur

Église Saint-Pierre-ès-Liens de Mauvezin-sur-Gupie

  • Le Bourg
  • 47200 Mauvezin-sur-Gupie
Église Saint-Pierre-ès-Liens de Mauvezin-sur-Gupie
Église Saint-Pierre-ès-Liens de Mauvezin-sur-Gupie
Église Saint-Pierre-ès-Liens de Mauvezin-sur-Gupie
Église Saint-Pierre-ès-Liens de Mauvezin-sur-Gupie
Église Saint-Pierre-ès-Liens de Mauvezin-sur-Gupie
Église Saint-Pierre-ès-Liens de Mauvezin-sur-Gupie
Église Saint-Pierre-ès-Liens de Mauvezin-sur-Gupie
Crédit photo : Henry Salomé - Sous licence Creative Commons
Propriété de la commune

Frise chronologique

Moyen Âge central
Bas Moyen Âge
Renaissance
Temps modernes
Révolution/Empire
XIXe siècle
Époque contemporaine
1200
1300
1400
1500
1600
1700
1800
1900
2000
XIIe siècle
Construction initiale
XIIIe siècle
Origines de l'église
1437-1442
Destruction majeure
XVe siècle
Ajout du clocher gothique
Seconde moitié du XVe siècle
Reconstruction gothique
1733
Ajout de la sacristie
XIXe siècle
Restauration néo-gothique
1942-1944
Restauration des peintures
23 septembre 1958
Inscription monument historique
1976-1982
Restauration complète
Aujourd'hui
Aujourd'hui

Patrimoine classé

Eglise (cad. B 440, 442 2è feuille) : inscription par arrêté du 23 septembre 1958

Personnages clés

Raymond de Ferrand Seigneur dont les armes figurent sur une clé de voûte du chevet gothique flamboyant.
Abbé Dumas Responsable de l'adjonction de la sacristie en 1733.
Giovanni Masutti Peintre ayant restauré et complété le décor peint entre 1942 et 1944.
André Desgrez Architecte des bâtiments de France ayant mené la restauration de 1976 à 1982.
Abbé Brousseau Initiateur de la restauration du décor de l'église.
Gustave Alaux Architecte ayant restauré l'église au XIXe siècle et réalisé un relevé de la charpente.
Viollet-le-Duc Architecte ayant étudié et décrit la charpente de la nef.

Origine et histoire de l'Église Saint-Pierre-ès-Liens

L’église Saint-Pierre-ès-Liens, située à Mauvezin‑sur‑Gupie dans le Lot‑et‑Garonne, présente un intérêt particulier pour sa charpente de la nef. L’édifice semble avoir des origines au XIIIe siècle, puis avoir été en grande partie détruit entre 1437 et 1442; il ne restait alors que les fondations et la partie basse de la façade avec le portail. La reconstruction a commencé à partir de la seconde moitié du XVe siècle : on ajoute alors une chapelle sud en vis‑à‑vis de la chapelle nord, toutes deux couvertes d’une voûte d’arêtes, et le chevet est reconstruit dans le style gothique flamboyant, attribution liée à Raymond de Ferrand dont les armes figurent sur une clé de voûte. Une sacristie est adjointe contre l’église par l’abbé Dumas en 1733. L’édifice n’a pas souffert pendant la Révolution; son décor néo‑gothique date du XIXe siècle. Entre 1942 et 1944, le peintre Giovanni Masutti a restauré et complété le décor peint, notamment par une Cène en trompe‑l’œil inspirée de Léonard de Vinci. L’église a fait l’objet d’une restauration menée de 1976 à 1982 par l’association « Amis des pierres du temps passé » sous la conduite d’André Desgrez, architecte des bâtiments de France. Le décor a aussi été restauré à l’initiative de l’abbé Brousseau. L’édifice est inscrit au titre des monuments historiques le 23 septembre 1958.

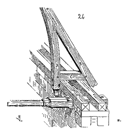
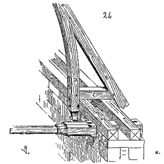
La charpente de la nef, décrite par Viollet‑le‑Duc, est au centre des études sur le monument : Viollet‑le‑Duc s’est appuyé sur un relevé de Gustave Alaux, architecte à Bordeaux et restaurateur de l’église au XIXe siècle, mais ce relevé s’est avéré inexact. La datation proposée par Alaux (XIIIe siècle) a été remise en cause par l’analyse dendrochronologique qui situe la réalisation de la charpente au XVe siècle, lors de la reconstruction. Une étude de 1957 a précisé qu’il s’agit d’une charpente à chevron portant ferme, avec poinçons supérieurs et inférieurs décalés dans la partie visible; on note un faîtage sous chevrons et un étrésillonnement longitudinal entre la sous‑faîte et l’entrait retroussé. Dans la zone sur voûte de pierre, les entraits sont, seules, dans le même plan vertical que les poinçons supérieurs. Une seule ferme est complète avec un poinçon d’un seul tenant. Le feston intérieur en bas de voûte et certaines fenêtres de la nef doivent être relativement récents et certaines dispositions ont été modifiées ou ajoutées par Gustave Alaux.

Liens externes