Château de Montfort à Montigny-Montfort en Côte-d'or

Patrimoine classé Patrimoine défensif Demeure seigneuriale Château fort

Château de Montfort à Montigny-Montfort

  • Rue de la Chapelle Saint-Denis
  • 21500 Montigny-Montfort
Château de Montfort à Montigny-Montfort
Château de Montfort à Montigny-Montfort
Château de Montfort à Montigny-Montfort
Château de Montfort à Montigny-Montfort
Château de Montfort à Montigny-Montfort
Château de Montfort à Montigny-Montfort
Château de Montfort à Montigny-Montfort
Château de Montfort à Montigny-Montfort
Château de Montfort à Montigny-Montfort
Château de Montfort à Montigny-Montfort
Château de Montfort à Montigny-Montfort
Château de Montfort à Montigny-Montfort
Château de Montfort à Montigny-Montfort
Château de Montfort à Montigny-Montfort
Château de Montfort à Montigny-Montfort
Château de Montfort à Montigny-Montfort
Château de Montfort à Montigny-Montfort
Château de Montfort à Montigny-Montfort
Château de Montfort à Montigny-Montfort
Château de Montfort à Montigny-Montfort
Château de Montfort à Montigny-Montfort
Château de Montfort à Montigny-Montfort
Château de Montfort à Montigny-Montfort
Château de Montfort à Montigny-Montfort
Château de Montfort à Montigny-Montfort
Château de Montfort à Montigny-Montfort
Château de Montfort à Montigny-Montfort
Château de Montfort à Montigny-Montfort
Château de Montfort à Montigny-Montfort
Château de Montfort à Montigny-Montfort
Château de Montfort à Montigny-Montfort
Château de Montfort à Montigny-Montfort
Château de Montfort à Montigny-Montfort
Château de Montfort à Montigny-Montfort
Château de Montfort à Montigny-Montfort
Château de Montfort à Montigny-Montfort
Crédit photo : Mathieu DUBOST - Sous licence Creative Commons
Propriété privée

Frise chronologique

Moyen Âge central
Bas Moyen Âge
Renaissance
Temps modernes
Révolution/Empire
XIXe siècle
Époque contemporaine
1100
1200
1300
1400
1500
1600
1700
1800
1900
2000
1075
Construction initiale
1289
Reconstruction de la forteresse
1340
Mariage de Jeanne de Vergy
1400
Mariage de Marguerite de Charny
1521
Séquestre du château
1547
Levée du séquestre
1688
Vente du château
1731
Cession à Frédéric de La Forest
1817
Transmission du domaine
1985
Réhabilitation des vestiges
1996
Création de l'association Mons Forti
2011
Cession à la commune
Aujourd'hui
Aujourd'hui

Patrimoine classé

Château de Montfort (ruines) : inscription par arrêté du 30 décembre 1925

Personnages clés

Bernard de Montfort Proche des ducs de Bourgogne, il éleva le premier château vers 1075.
Géraud de Maulmont Chanoine et archidiacre de Limoges, il fit reconstruire la forteresse vers 1289.
Jeanne de Vergy Épouse de Geoffroy Ier de Charny, elle conserva le Saint Suaire à Montfort.
Geoffroy Ier de Charny Époux de Jeanne de Vergy, il est lié à l'histoire du Saint Suaire.
Jean de Bauffremont Époux de Marguerite de Charny, il mourut à Azincourt en 1415.
Philibert de Chalon Prince d'Orange, il refusa de rendre hommage au roi François Ier.
René de Chalon Héritier des biens de son oncle Philibert, il légua le château à son cousin Guillaume d'Orange-Nassau.
Guillaume d'Orange-Nassau Obtint la levée du séquestre du château en 1547.
Amélie d'Orange-Nassau Fille de Guillaume, elle mena d'importants travaux de réhabilitation au château.
François Michel Le Tellier Marquis de Louvois, il acheta le château en 1688.
Frédéric de La Forest Il fit du château sa résidence principale après l'avoir acquis en 1731.
Jean-Marie Fériès Avec son épouse, il entreprit la réhabilitation des vestiges en 1985.

Origine et histoire du Château de Montfort

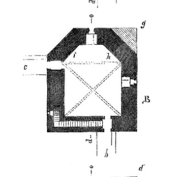
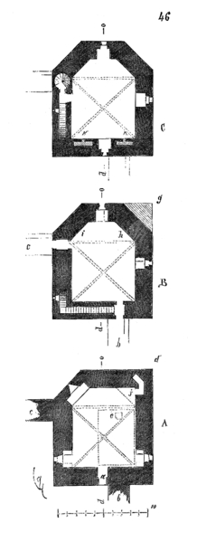
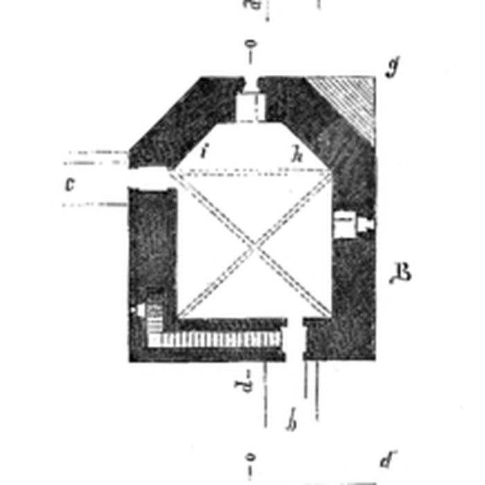
Le château de Montfort, ruine d’une forteresse du XIIIe siècle, se trouve à Montigny‑Montfort dans la Côte‑d'Or, perché sur un plateau rocheux à 317 mètres qui domine les vallées du Dandarge, de la Ronce et de la Louère. Son architecture singulière a appartenu à des familles illustres et le site a conservé pendant de longues années le Saint Suaire. Il est situé le long de la route départementale D980, entre Semur‑en‑Auxois (11 km) et Montbard (4 km), et est accessible depuis l'autoroute A6, sortie 23 Bierre‑lès‑Semur direction Montbard. Un premier château aurait été élevé vers 1075 par Bernard de Montfort, proche des ducs de Bourgogne. Vers 1289, Géraud de Maulmont, chanoine et archidiacre de Limoges et conseiller du roi Philippe IV le Bel, fit reconstruire la forteresse. Par mariages et successions, la seigneurie passa aux maisons de Vergy, de Charny et de Bauffremont : Jeanne de Vergy épousa Geoffroy Ier de Charny en 1340, la petite‑fille de ceux‑ci, Marguerite, épousa Jean de Bauffremont en 1400, qui mourut à Azincourt en 1415, puis Pierre de Bauffremont hérita du domaine. La petite‑fille de Pierre, Philiberte, se maria avec Jean de Chalon, prince d'Orange ; après la mort de Jean, son fils Philibert refusa de rendre hommage au roi et se mit au service de Charles Quint, entraînant le séquestre du château par François Ier à partir de 1521. En 1530 René de Chalon hérita des biens de son oncle Philibert puis les légua à son cousin Guillaume d'Orange‑Nassau, qui obtint la levée du séquestre le 19 mai 1547. Sa fille Emélia (Amélie) d'Orange‑Nassau obtint ensuite le château et y mena d'importants travaux de réhabilitation. Le 14 février 1688, les petites‑filles d'Amélie vendirent le château à François Michel Le Tellier, marquis de Louvois ; ses descendants, puis la famille d'Harcourt, furent successivement propriétaires avant que la baronnie ne soit cédée le 31 mai 1731 à Frédéric de La Forest, qui fit du château sa résidence principale. Le 18 août 1817 une descendante de La Forest transmit le domaine pour 1 200 francs à Jean Baptiste Lefaivre ; dès lors les terres furent exploitées tandis que le château tombait en ruines. En 1985, Jean‑Marie Fériès et son épouse achetèrent les vestiges et entreprirent leur réhabilitation ; l'association Mons Forti prit la relève en 1996 et, après la cession symbolique du château à la commune de Montigny‑Montfort en 2011, poursuit les travaux, la sauvegarde et l'animation du site. Après le franchissement d'un profond fossé et du pont‑levis, on pénétrait autrefois dans une vaste basse‑cour ceinte de remparts et flanquée de sept tours, trois semi‑octogonales et les autres semi‑circulaires ouvertes à la gorge ; la hauteur des tours, limitée à celle des courtines, assurait une circulation et une défense continues. La cour intérieure pavée était entourée de vastes bâtiments nobles comprenant une salle des gardes voûtée de 12 × 18,5 m, une salle seigneuriale de 10 × 24 m, une chapelle, des appartements et des caves. Aujourd'hui subsistent notamment la muraille sud, haute d'environ 30 mètres, et trois tours semi‑octogonales dont la « tour Amélie », qui conserve deux salles voûtées en croisée d'ogive avec clé de voûte, ainsi qu'un puits de 28 mètres, la salle des gardes avec ses départs de colonne, la cour pavée, les remparts de la basse‑cour et le pigeonnier. Les armoiries des anciens seigneurs — Bernard de Montfort, Maulmont, Vergy, Charny, Bauffremont, Chalon d'Orange, Nassau, Le Tellier, Harcourt et de La Forest — sont associées à l'histoire du site. Le château fort de Montigny‑Montfort a été inscrit à l'Inventaire supplémentaire des monuments historiques par arrêté du 30 décembre 1925. Le site est aujourd'hui géré par l'association loi de 1901 Mons Forti ; depuis 1996, forte d'environ 220 adhérents, elle mène des actions de restauration, d'embellissement et d'animation et propose des visites guidées gratuites sur réservation. Le linceul, dit Saint Suaire, arriva à Montfort avec la famille de Vergy au XIVe siècle ; selon la tradition rapportée, Othon de la Roche l'aurait pris lors du sac de Constantinople en 1204 et la famille en conserva la mémoire jusqu'au milieu du XIVe siècle. Jeanne de Vergy, épouse de Geoffroy de Charny en 1340, retint le suaire à Montfort pendant vingt‑huit ans après l'interdiction des ostentations par l'évêque de Troyes en 1360 ; la relique fut rendue aux chanoines de Lirey en 1389. Pendant la guerre de Cent Ans, les chanoines confièrent en 1418 le linge à Marguerite de Charny qui le remit de nouveau à Montfort puis le transporta à Saint‑Hippolyte (Doubs), fief de son mari Humbert de Villersexel ; après la mort d'Humbert en 1438, Marguerite refusa de restituer la relique, l'exposa lors de voyages en diverses villes et la vendit le 13 septembre 1452 à Anne de Lusignan, épouse du duc Louis Ier de Savoie, contre le château de Varambon. La relique fut alors conservée dans la Sainte‑Chapelle de Chambéry, élevée au rang de collégiale par le pape Paul II ; en 1464 le duc accepta de verser une rente aux chanoines de Lirey pour mettre fin aux poursuites. Jeanne de Charny mourut le 7 octobre 1460 et fut, selon les documents, « excommuniée au‑delà de la mort ». Depuis 1578, le suaire se trouve à Turin, après le transfert de la capitale des ducs de Savoie en 1562.

Liens externes